(1)实验方案设计思路:
①电子商务网络创业虚拟仿真实验项目的必要性
随着电子商务的迅猛发展,社交电商、新零售、O2O、云计算、大数据等新技术和新商业模式逐渐成为电子商务发展的主流,电子商务实践教学中存在以下难点:
难点一:学生缺少机会接触到真实的电商企业运营和真实的电子商务运营软件;
难点二:天猫网店和京东网店的开设费用高达数十万元并且需要成立公司;淘宝网个人网店监管严厉无法进行虚拟交易操作;
难点三:教师无法登录天猫、京东或者淘宝对学生的实验情况进行有效的管理。
电子商务教学中的实际需求,需要一个虚拟而又真实的电子商务网络创业虚拟仿真系统来开设虚拟网店进行网络创业完成实践教学,让学生通过卖家角色扮演获得实践知识。系统采用了云计算技术,学生可以随时随地的远程访问网店的虚拟仿真系统进行实验操作,快速学习电子商务实际操作知识,教师也可以方便的看到学生实验的情况,进行针对性指导。电子商务网络创业虚拟仿真实验解决了电子商务实践教学的难点,成为教师教学的有力助手。
②电子商务网络创业虚拟仿真实验项目的先进性
(一)技术先进性。电子商务网络创业采用了最新的云计算技术和移动端技术,利用Asp.Net技术设计了网店运营管理的后台操作功能,保证每个实验小组具有独立完整的后台功能和远程操作,可以分享微信群、朋友圈等社交平台同步社交电商发展,突破了目前电商实验中缺少手机端实验的弊端。同时建立了微信公众帐号(微信搜索yunshiyan),发布了实训手册和优秀学生作业案例供后来学习者参考。

图21 仿真网店分享到微信群和朋友圈
(二)实验真实性。将企业“真实”应用的电子商务网店管理系统搬进课堂支持理论教学,研发了B2B2C电子商务教学软件,方便学生通过网络创业虚拟仿真掌握“电子商务实际运营管理”。对比天猫商家、京东商家后台功能,仿真的功能基本一致,仿真度接近99%,也就是操作真实性。

图22 实验后台功能仿真度99%
(三)知识融合性。实验采用的多店铺商城云实验教学系统可以以班级为单位模拟交易市场,体验网络创业过程,综合体会和理解了经济管理学科知识,包括市场营销学、项目管理、电子商务、创业学等课程综合知识。实验培训的学生参加“创青春”、“互联网 ”和上海市网络创新大赛和大学生创业大赛获得了上海市奖项。优秀学生开设网店帮助农民销售农产品近15万元人民币,部分学生创立了电子商务公司:概率论、鹿痴家、宠爱约定,乡野寻味等。

图23 经过实验学习的同学获得大赛奖项证书

图24 从实验到实践帮助农民开设真实网店销售数据
(四)学习趣味性。通过角色扮演,学生可以扮演买家,也可以扮演卖家,在模拟网络创业的交易中掌握电子商务的理论知识和实践操作。学生扮演卖家进行网络创业开设的虚拟网店有零食店、餐饮店、生鲜店、手作店、学习店、运动店、美容店、心理店、租赁店等,丰富多彩的网络创业让学生学习兴趣大大提高。

图25 学生丰富多彩的虚拟网店案例
(一口甜、私人耳饰库、Meet Cocoa)
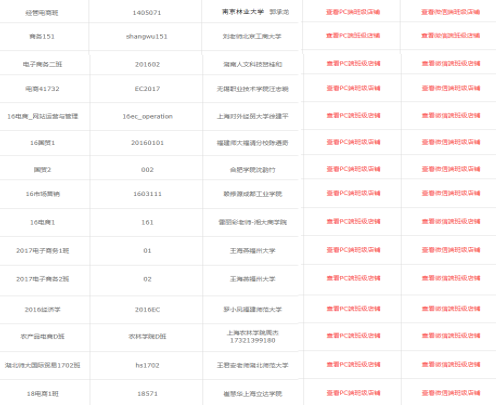
(五)实验共享性。电子商务网络创业虚拟仿真实验的软件具有教师管理功能,可以网络开放给其他高校电子商务教师进行教学。目前电子商务网络创业虚拟仿真实验平台已经开设了3700多家虚拟仿真网店,累计培养学生近万名,学生分布十多所高校。下图是采用电子商务网络创业虚拟仿真实验软件平台的高学校教师后台账号截图。

图26 高校共享使用实验软件的后台账号名称和班级
采用电子商务网络创业虚拟仿真实验进行教学的高校名称如下:
上海对外贸易大学、南京林业大学、北京工商大学、福建师范大学、福州大学、福建师范大学福清校区、湘潭大学商学院、湖北师范大学、上海农林职业技术学院、上海立达学院、无锡职业技术学院、安徽三联学院、黄河交通学院、合肥学院、成都工业学院、安徽财贸职业学院、广东工程职业技术学院等十多所大学和高职院校。
(六)产权专有性。2011年开设网络团购虚拟仿真实验, 2013年开设O2O虚拟仿真实验,2016年开设网店运营管理虚拟仿真实验,2019年升级为电子商务网络创业虚拟仿真实验,历时6年打造的B2B2C电子商务教学软件在2017年1月获得国家版权局的软件著作权,并在2017年由高等学校国家级实验教学示范中心联席会经管学科组主办的第二届全国高校经管类实验教学案例大赛一等奖全国案例大赛获得一等奖。2019年获得上海海洋大学教学成果特等奖。

图27 实验软件的著作权和获奖证书
(2)教学方法创新:
①实战式教学:通过真实的电子商务平台的仿真,让学生使用到企业真实的电子商务运营管理软件进行网络创业,虚拟中有实战,实战中有虚拟。
②启发式教学:通过讲述真实的电商运营成功案例,比如阿芙精油、三只松鼠等启发学生规划和设计网店。
③兴趣化教学:通过卖家角色和买家角色的扮演,提高学生参与兴趣,通过模拟市场订单数量多少激发学生创业销售热情,展示了极大的学习热情。
④评价式教学:根据评价指标体系为每个小组的每个实验环节进行打分,并对学生创业网店表现进行建议。
⑤一体化教学:案例教学、实验教学、实践教学和创业教育是高校人才培养的四个阶段,电子商务网络创业虚拟仿真实验扮演了重要的衔接作用,将理论教学和实践教学紧密融合,创立了四阶段一体化的人才培养模式,。
(3)评价体系创新:
电子商务网络创业虚拟仿真实验的评价体系包括了模拟卖家评价体系(权重90%)和模拟买家评价体系(权重10%),卖家评价体系如下:
表1 电子商务网络创业虚拟仿真实验模拟卖家的评价体系

模拟买家的评价体系如下,主要是让学生能更加真实的仿真电商交易市场。
表2 电子商务网络创业虚拟仿真实验模拟买家的评分表

通过上述卖家评价(90%)和买家评价(10%),获得了学生个人的最终实训的分数。
对传统教学的延伸与拓展:?
(一)弥补了传统教学方法
传统的教学主要由课堂讲述、案例分析等环节组成,单纯的理论教学方式已经不能适应电子商务的快速发展,电子商务网络创业虚拟仿真实验的设计弥补了理论教学的弱点,让学生在实践中学会理论,并掌握电子商务实际运营。
(二)传统教学方法的拓展
传统的电子商务理论已经跟不上快速发展的企业应用,通过电子商务网络创业虚拟仿真实验的学习,采用信息技术支持,学生不仅仅是掌握电子商务理论知识,更重要的是学习了实际的电子商务企业运营知识,商品发布、网店装修、网络促销方案,每个环节都需要结合理论去实际思考,订单的处理会让学生考虑更多实际情况来思考理论知识,进而拓展了理论教学知识,丰富了学生的学习内容,让教师的教学手段更加生动与真实。